Ma taj sat je cudo pravo....

Levi ili desni zglob, unutra ili spolja, okrenuto ovako, ili onako?

Zavisi od toga da li ste levak ili egziTbicionista, ej.. pazi ti malo! Izvinjotka, Levoruk ili ne.

Levi-ili-desni-zglob-620x316.jpg


U neko, doduse ne tako davno vreme, kada se uvidelo da nije sramota da se sat nosi i na rucnom zglobu, umesto u dzepu prsluka odela, malom dzepu na pantlonama, oko vrata…Jer nase dame, njihove, necije dame su to prvo pocele da rade, pa to, da nose sat na ruci. I tako, sat se srecno i zadovoljno preselio, tako reci aterirao na zglob sake svojih nazovi, u to vreme muskobanjastih vlasnika.

Ali sto se Levorukosti tice, sinister*- southpaw (sleng eng.), ili ti Lefty.. to je i dalje smatrano đavolskom rabotom, " Sinister : od latinskog “sinistra” sto znači leva ruka, u srednjem veku se verovalo da je čovek koji pise levom rukom opsednut đavolom .

leftorium_400.jpg


Mada tada pismenih bas i nije bilo da se nadje na svakom cosku, pa su zato na takve koje su to bili ( pismeni), vise obracalo paznje, jerBo su bili znacajnijii i vidjeniji. Te su se tako Levoruke osobe smatrale zlim.
A one nepismene su i onako spaljivali po zelji, volji i slobodnoj proceni. Zato ga i zovu mracni srednji vek.

88912.jpg


tag-heuer-watch-0509-lg.jpg



Ali sto se satova tice, kasnije se odomaćilo mišljenje da je sasvim prirodno i da satove treba ipak nositi iskljucivo na levoj, a ne na desnoj ruci. Da li je bas to tako, ili je zbog toga sto su se ti satovi mahom navijali i s’obzirom da su ljudi u vecini desnjaci, time je i navijanje desnom rukom bilo prirodnije. Ajde to ima nekog smisla, međutim, satovi su sada vecinom ili automatici ili quartz, pa je samim tim proizvoljno i sasvim ispravno nositi i na levom i na desnom ručnom zglobu, bez obzira na opredeljenost -stranu mozga.

Ali dokle god je kućište sata okrenuto na gore. Kazu da ne postoje neki valjani razlozi da se sat nosi okrenut ka unutra, prema dlanu. Osim što izgleda prilicno smešno, takav način nošenja sata opasno ugrožava kućište i staklo, pogotovo ako ste desk diver. Ahaaa, eeee, sad tu vec ima materijala, za jednu diskutaciju koja sledi koji stepenik dva nize.

Left-handed-facts-Brain1+%25281%2529.jpg



U istoriji Panerai satova, prvi put se pominju satovi za levoruke 1940 godine, i pravljen je kao sto znamo za italijanske mornaricke komandose. Smatralo se da ce biti lakse ako se nosi na desnoj ruci, sobzirom da se na levoj ruci nosio ostali deo opreme, kompas, dubinomer..

Ovi satovi za Lefty-je nije samo nasleđe duge istorije ovog brenda, koji se potrudio da i ovakvim satom u ono vreme obezbedi bolju funkcionalnost i udobnost, cak i prednost ako nosi na desnoj ruci. Danas su ovi satovi postali izuzetno retki, kolekcionari se nadmecu da bi dosli do ovog blaga.

“The Panerai PAM219 is a so called Destro watch.

img.php


Destro watches are designed for left-handed people and intended to be worn on the right-hand wrist. I’m not sure but I think that Panerai was first to use the term Destro as Panerai are an Italian company and Destro is Italian for Right. The only real difference between regular watches and destro watches, is that the winding crown is on the left side of the case (at the 9 o’ clock position) which allows a left-handed person to wind it while holding the watch in the right hand. The PAM219 is a hand-wound mechanical base watch – just hours and minutes. The case is 44mm, it has a sandwich dial and it has a display back. Its depth rating is 30 bar or 300 metres – despite its case back crystal. The movement is Panerai’s OP X calibre – which is a modified ETA 6497 movement with a swan’s neck regulator. Panerai introduced this movement in its watches in 2002. It is a reliable movement that can be maintained by many watch makers.”

Panerai Luminor Marina, a Left Handed Limited Edition PVD version.

luminormarina_lefthanded08__-thumb-450x510.jpg


This is the Panerai Luminor Marina, a Left Handed Limited Edition PVD version. The 44mm case is PVD treated stainless steel and features the manual hand winding crown on the left side of the case. Panerai used a 3.2 mm curved anti-reflective sapphire crystal. The dial features a small seconds subdial at 3 o'clock and large stick and Arabic luminous hour markers. The strap is in leather, and fitted with a brushed stainless PVD treated buckle personalized with the Panerai signature. The crown is sealed via the patented Panerai locking device; this feature in combination with the thick screw-locked steel caseback enables the watch to achieve a 300 meter water resistance level. There are 1000 numbered watches available worldwide.

Luminor 1950 Chrono Monopulsante Left-handed 8 Days Titanio PAM00345
panerai-luminor-1950-chrono-monopulsante-left-handed-8-days-titanio-44mm-pam00345-watch-1.jpg

“Luminor Panerai ” printed on the dial and movement long-lasting power reserve “8 DAYS (8)”. Luminor 1950 the Chrono Monopulsante Left-handed 8 days Titanio – 44 mm 8-day power reserve left-handed single chronograph titanium watch (PAM00345) waterproof depth of 10 atmospheres (100 meters), this special edition watch limited edition of only 150 .
panerai-luminor-1950-chrono-monopulsante-left-handed-8-days-titanio-44mm-pam00345-watch-caseback.jpg

New PAM00345 – Luminor 1950 the Chrono Monopulsante Left-handed 8 days Titanio – 44 mm 8-day power storage southpaw click the chronograph titanium watch unique, it is its special historical origins. This special edition watch equipped with Panerai P.2004 / 9 the homemade movement, this single made ​​chronograph movement entirely by Panerai watch factory in Switzerland Bendict Tell independently designed. Made in brushed titanium Luminor 1950 case diameter of 44 mm, with polished bezel and sapphire crystal case-back, the panoramic view of the fine details of movement through the bridge board indicator can clear read the watch’s power reserve display. The cylindrical button located at the 2 o’clock position on the opposite side of the winding crown protecting bridge, it can control all timing functions: start, stop, zero. Protecting the crown with brown vintage leather strap clasp same are made ​​of brushed titanium.
winding movement with three barrel, 8-day power reserve. In addition, it has a second hand zero device, so watch with precise reference time signal school. Mechanical structure, this movement more with the superior chronograph essential guide column wheel and vertical clutch device. Brown sandwich dial with the classic Panerai watch unique large digital hour mark, also equipped with small seconds and minutes lap. In history, to make the dial even in the faint light still has the best read performance, sandwiches sandwich structure will thus came into being. It consists of two overlapping discs, luminous material in the sandwich into the hour mark and clear digital display.

Ali ima i drugih sa istom namenom.

zenith-left-handed-pilot-chronograph-watch.jpg


left.jpg


7924bc100left2.jpg



Ali vratimo se i drugom fenomenu.

diehard3.jpg


Uvek, uvek, ama bas uvek, bar u u filmovima, Bruce Willis nosi svoj sat sa unutrasnje strane zgloba sake, desne ruke.

dh-acc.jpg


Cudno rekli bi, u javnom zivotu to i nije bas slucaj, ali….Holivud je i sam za sebe jedno cudo.


Die+Hard+Event+%252847%2529.jpg


Da li je to cudan nacin za nosenje necega vaznog (za neke manje, a za neke vise), ili je to nacin da se upravo sat zastiti od pogleda, ma ne, ali mozda nepozeljnog dodira sa onom od gore povrsine, koja mu moze naneti neko zlo- stetu?

Recimo kod pilota je to bio uobicajen nacin da ga nose, kao i kod vozaca. Kod vojnih formacija, narocito snajperista, to je bilo resenje da smanje rizik od refleksije. Mada znamo da sada ima mnogo namenskih satova koji upravo svojim tehnickim resenjima to sprecavaju. Mozda je bas ta vojna fora nesto odakle je Bruce dobio ideju, i da sve njegove filmske akcije iz opusa “Die hard” izgledaju verodostojnije, autenticno… Dok je kod vozaca to bio brz (manje pokreta), i bezbedan nacin za ocitavanje vremena.


omega_image.835296.jpg


Ovaj sat je tendeciozno napravljen bas za takav nacin nosenja, ili se ja mozda varam.
Ovakva konfiguracija olaksava gledanje na sat kada se vozi ili…leti.


omega_image.833756.jpg


U jednom clanku o Robert Downey Jr. (Entertainment Weekly), novinar koji ga je intervjuisao, primetio je da RDJ nosi svoj crni moderan sat (inace jos jedan skup komad koji je uvek prisutan u “zavezljaju”poznatih licnosti), sa unutrasnje strane zgloba.

Downey je to objasnio time, sto je rekao da je on neko ko se bas ne oseca tako ugodno, da nosi nesto sto je dobio. Takodje je rekao da on nije poznat i da je to vazno , jer on jos nema ugovor sa proizvodjacem satova ! !
Ili je pak samo hteo da se ipak diskretno pokaze da je sada toliko poznat i važan i da prima skupe satove i ostalo zadjabe. Ali ako je to poklon, zasto ih prihvataju i nose. Eeee, zasto?

images


Možda stvarno okretanjem na unutra je neka stvar da se glumci osecaju manje razmetljivi svojim lepim satovima, ili ne zele da besplatno reklamiraju odredjenu marku sata, ako za to nisu vezani ugovorom.

10.jpg


Protagonista u filmu “Le Samourai”, francuskog rezisera Jean-Pierre Melville-a, nosi sat na isti nacin.

Ipak ne mogu da kazem, da potpuno razumem logiku nosenja sata na taj nacin, jesam vidjao ponekad u zivotu, da neki to rade na taj nacin. Mada mi se nesto cini, da su ti isti uvek imali produzen i zasiljen nokat na malom prstu. ;)


E sad, ima tu i neka treca sorta sa svojim fetisima, mozda je to pogresno izabrana rec.


Luciano.jpg


Ili bi se pre moglo reci da je to mozda visoki stil, nekima nerazumljiv.


tumblr_m4fe9gqbaS1qfex1b.jpg
Sat-uz-odelo-620x620.jpg


Sta tek treba reci za ove “otmene macore” , koji nosenje sata potenciraju na jedan drugi nacin, do cak ovakvih razmera., hmmm…

Jedan i jedini

12_style_icon_flash.jpg


Style Icon: Gianni Agnelli

tumblr_lvt47wAXwh1r76vlpo1_500.jpg



IMG_5152.jpg


Gianni-Agnelli-02.jpg



desantis.jpg


Covek sa stilom i poznavaoc prilika i stanja u drustvu uopceno, kao sto rekoh ne mora da potrosi puno para na sat i uglavnom nece uzeti najizvikanije moguce marke kao sto su one, ma znas one…tamo neke…
Novac nije uvek povezan sa covekom od stila...zapravo u poslednje vreme sve manje. Mada.. pravi muskarac nista ne sme da prepusti slucaju, neki bi rekli…Ali uhvati mi nekog takvog.

tumblr_lyev73OKWZ1qargt4o1_400.jpg


Kupovina skupih satova je mozda i neka vrsta egzibicionizma, isto kao i da pazaris tamo nekog Pikasa - slika ko slika, vecini se nece ni svideti, ali je Pikaso, hyeee. Toliko ima besmislenijih primera upucavanja para da su satovi jos i majka Mara. To se dešava i u svakom ozbiljnijem skupom hobju, statusnim simoblima, i ”show-off” fazon.


12_93695637.jpg


Perfektan Gentlmen ili...

CEO-Shirt.jpg


Alta Moda

watch-above-the-shirt-glasses-wrist-hand-jacket-on-top-shirt.jpeg


Mozda i ovo stvarno treba probati.

Da li zato što je populizam moderan u medijima, skupe satove nose i ljudi sa stilom i ljudi bez stila, i oni koji nesto znace , i oni koji bi to voleli.
Vec znamo da uz skup sat ide i odelo sa “palacinkom” obavezno crvene boje. To u sivim masama ostavlja utisak, da je ta osoba energicna i da ima ozbiljne namere kada se necega prihvati, dovede stvar do kraja, bla, bla, bla…
Ma brale, brale, kupi mi sandale, da idemo da se slikujemo, i na sliki da se rukujemo, sa Marvinom i tvojim Darvilom…

Mada onu gore pesmu, licno nesto i volim.

Ali zasto se preteruje u svemu, zbog cega ljudi vole prenaglašene stvari...satovi mere puls, krvni i atmosferski pritisak, naravno svih boja velicina i oblika, stanja..… Telefoni koji proveravaju krvnu sliku i nivo mokracne kiseline u istoj, mislim krvi, a i uredno obavestavaju o vodostanju na nasim rekama. Zlatni laci oko vrata, mo’z privezati ladno sleper, dva, i mirno spavas, dijamant u uhu i u prednjem njupavcu (jedinica gore levo). Ajde besna kola, ali kola sa felnama na kojima samo sigurnosni sraf kosta kao penzije pola dorcolskih penzosa, koje to uzgred upste ne dotice, oni i dalje kibicuju i opusteno igraju sah sa svojim klasicima na Kalisu.....
Mozda je to zato sto se samo jednom zivi, ali bas zato ….i uprkos tome, treba ostati dosledan sebi…ako si svoj naravno, mislim u glavi. Pa makar time “ugrozili” svoj nazovi image - izgled i popularnost. Rejting mi nesto o-pada, ovih dana oko Djurdjevdana. Ali to samo ja tako mislim, Jopet izvinjotka ako gresim.


Biti "faca","smeker",”baja”, “neko”ili neki macho, macho, man… ili kako god sebe nazivali, nije stvar dubine dzepa kao rimskog bunara, vec “dubine” karaktera.
Kao sto je jedan majstor sajdzija lepo napisao: “Ovaj majstor popravlja sve sem karaktera, za to jos uvek nema rezervnih delova”.

Ja volim svoje satove i mozda ih zato rado pokazujem drugima, Nosim ih uvek okrenute prema Suncu (Eco-Drive), i to na desnoj ruci, samo da se zna. ;)

Ovaj majstor je svirao levom, na gitari za desnjake, nije cak ni redosled zica menjao.
JIMI HENDRIX 12 STRING BLUES - YouTube


Pozz



 
Last edited:
Da bas, dobro ti to zboris Dalibore.


LL


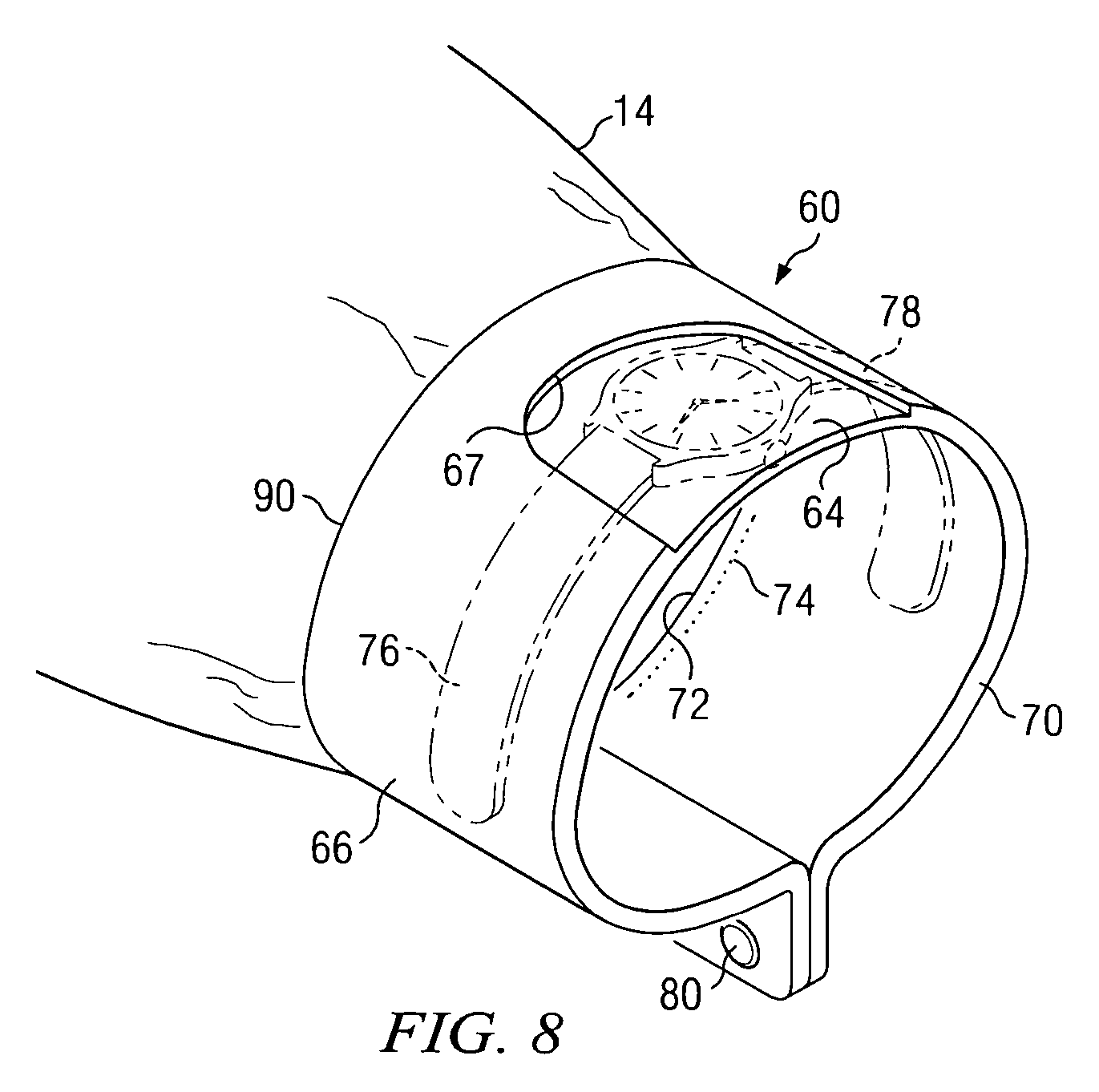
Ali mozda nekom krojacu, ipak zatrebaju mere, musterije mogu da traze, pa nek' se nadje.

US07120936-20061017-D00004.png




US07120936-20061017-D00000.png


US07120936-20061017-D00001.png


US07120936-20061017-D00002.png


US07120936-20061017-D00005.png



0c8fad39c5a55f79c62314954698e3ae755c06eb_m.jpg


Neko ko zeli posto-poto da bude zapazen, sa ovakvim satom bi se stvarno nasao u problemu, a resenje je kao sto se vidi gore vrlo jednostavno.

Posle vise godina dizajniranja i izrade, Mr. Vianney Halter je izbacio novi Retro-Futuristic sat, nazvan: "Deep Space Tourbillon".

Vianney-Halter-Deep-Space-Tourbillon-12.jpg


Krajnje futuristicki dizajn, ideja verovatno potice iz SF filmova. Svemirske stanice iz the Star Trek serije "Deep Space Nine"

BOXuVZLCMAIxeSw.jpg


U centru sata je kao sto se vidi tourbillon- i to veliki komaT.
Skazaljke se krecu preko spoljasnjeg oboda, a ne centralno.

A tu su i safiri, titanijum, mozda nesto malo zlata...i Voilà!


BOXuSeRCcAApEK-.jpg


Ocito je, da kada se posmastra sa strane, kristalna kupola izgleda prilicno uzdignuta, sta izgleda, ovo je prevazislo...


deepsea-rolex.jpg


Novog Rolex Deepsea Challenger-a ai starog, skoro.



steel-diver-10916m.jpg


1960 Rolex Deep Sea Special watch


Vianney Halter "Deep Space Tourbillon"

The watch’s most striking feature is a spinning triple axis tourbillon that almost appears to float beneath a bulbous crystal dome as if it was set adrift in space. But it’s securely tied into the Deep Space Tourbillon, powering the arching hour and minute hands that curve up from the side of its face.

VH-DST_Tourbillon.jpg



•Type: Axe Triple Central Tourbillon watch
•Total weight: 90 grams
•Dimensions of the titanium case: 46 mm diameter – 10 mm thickness
•Home-made manual-winding caliber: VH 113, 21’600 alternations per hour
•Tourbillon frame revolution time: 40 seconds
•Number of jewels: 41
• Special hands of curved form, peripheral.
• Power reserve of 55 hours
• Deployment buckle wristlet in titanium. Hand sewn, goat leather special strap with crocodile leather inserts.

LE 100 kom.


0x600.jpg


Jedan je vec otisao kolekcionaru iz Kine, za samo $192.000.


Znaci jos samo 99 da ode.




original.jpg




Za poznavaoce satova , ovaj Vianney Halter "Deep Space Tourbillon" komad je ipak cudo. Medjutim, sa prakticne tacke gledista, nositi ovaj sat na ruci bice tesko .

Osim ako se cvrsto ne stegne na ruci, mislim manzetni. Sa kosuljom ili bez nje, sa ovakvim satom nema sanse da ostanete neprimeceni, garant. Zbog visokog centra gravitacije (i cene) ovaj komad ima cak i tendenciju da se prevrce, zajedno sa svojim gazdom.



vianney-halter-type-deep-space-tourbillon-17.jpg


Ali zato ovaj sat,uvek moze stajati cvrsto na trpezarijskom stolu, da pravi drustvo...

images


Zlatnoj ribici.

Vise joj dosadilo da gleda samo...

bgdukugli-spakovani-bgd.jpg


"Beograd je svet"

Vianney-Halter-Deep-Space-Tourbillon-15.jpg


Ali...Svemir je svemir.

tumblr_lzjh9qikr41r3pv4qo1_500-jpg.890


Uglavnom da znate, sta god kupili, moze da se nosi, na ovaj ili na onaj nacin.


Pozz
 
Last edited:
“CASOVNICARSKI SEGRT”


GDversion04x1K.jpg

Posvecenost, strpljenje i umece.

GeorgeDaniels.jpg


Dr. George DanielsCBE (Komandir nosilac reda najvece vrline Britanske imperije)

images

gd-1.jpg


Dokumentaran film reditelja Dave Armstrong-a, “The Watchmaker’s Apprentice” je ubedljiv i dirljiv film o dvojici mozda najvecih svetskih casovnicara, ali svakako o Master Horologist George Daniels-u (1926 – 2011), i njegovom jedinom segrtu Roger W. Smith-tu. Dokumentarni prikaz njihovog izuzetnog zanatskog umeca, dirljiv odnos i obostrano postovanje , prijateljstvo i na kraju jedinstvenost njihovih licnosti.

images


Ovaj film je i prica o zivotu, prolaznosti vremena, o svakom trenutku u zivotu koji se racuna, na kraju o okoncanju istog nam tog podarenog zivota. O tome da je zivot prolazna pojava i mogucnosti koje nama se pruzaju tokom njega, ne bi li ostavili neki trag za sobom kao svedocanstvo naseg postojanja. Naravno svako prema svojim mogucnostima, talentom, spretnoscu, trudom i vremenom ulozenim u procesu stvaranja jedinstvenosti.

U zavrsnoj fazi postprodukcije, ovaj dokumentarni film ce prvo imati nekoliko ekskluzivnih privatnih projekcija , radi eventualnih izmena . Jedno ot tih prikazivanja ce biti u Salonu QP 2012 in Gallery 14 of Saatchi London, Novembar 2013. Prvo ce ga videti novinari, entuzijasti opsednuti satovima , kao i obicno gradjanstvo koje nije u vezi sa industrijom satova. Tokom 2013 godine obici ce i nekoliko festivala, pre nego sto bude pusten u javno prikazivanje 2014-te godine?


George-Daniels-Co-Axial-Chronograph-Tourbillon1.jpg


Prvo predstavljanje ovog sata kao model je bilo na izlozbi u Bazelu 1986 godine.

George-Daniels-Co-Axial-Chronograph-Tourbillon-Watch.jpg


42mm wide 18K yellow gold case housing a four minute tourbillon with Daniels slim Co-Axial escapement and a compact chronograph mechanism.


George-Daniels-Co-Axial-Chronograph-Tourbillon-12.jpg


Svaki sat koji je napravio, bio je eksperiment, sadrzajnost tacnosti i inovacije.

George-Daniels-Co-Axial-Chronograph-Tourbillon-08.jpg


Jedan od jedanestoro dece, Daniels je imao tesko detinjstvo u porodici koja se borila da prezivi, otac mu je bio stolar, jedna pijanica i nasilnik.

Jos kao decak je bio fasciniran satovima, od momenta kada je pronasao jedan jeftin stari sat na ulici. Tada je imao 5 godina, otkrio je da u svakom mehanizmu sata koji gleda, vidi centar univerzuma.

George-Daniels.png


Od tada je pozeleo da provede ostatak zivota sa satovima. Sa 14, Daniels pocinje da radi u fabrici duseka, citajuci o satovima u svakom momentu slobodnog vremena.
Svoje znanje je uprzo pretvorio u novac, nudio je svoje usluge iduci od vrata do vrata.

George-Daniels-Co-Axial-Chronograph-Tourbillon-10.jpg


Dr. George Daniels je direktno odgovoran za ozivljavanje i znacajan doprinos, jednu nadmocnost u pravljenju mehanickih satova u modernom svetu.

daniels_2035800b.jpg


Casovnicar najveceg kalibra

5171834682_704b6d28c6_b.jpg


5171231863_19ce46a9ba_b.jpg


Daniels London Co-Axial Anniversary Edition prototype

5171231013_91b331de04_b.jpg


Daniels London, a gold co-axial minute tourbillon with chronograph

GD_1_-1.jpg


Njegove knjige ce uvek biti obavezno stivo, za obrazovanje svakog casovnicara, koji zeli da se okusa u izazovu pravljenja satova.

1000w


Niko ne porice uticaj George Daniels-a, on je jedan od retkih ljudi u svetu koji su uspeli da naprave citav sat svojom rukom, od pocetne faze -praznog lista papira, pa do same finalizacije - sata koji otkucava.




George-Daniels-Space-Travellers-Watch-circa-1982-annotated-620x493.jpg



1969 Daniels napravio svoj prvi mehanički sat. On je taj “komad” prodao Sam Clutton-u , koji je zatim to pokazao drugim kolekcionarima , i od tada je Denijels zapoceo svoju karijeru kao specijalista casovnicar .

georgedanielswatch.jpg


Ovaj sat George Daniels-a je postigao svetski aukcijski rekord $2.8 Mllion (Bonhams Sale).

The final sale of the Bonhams 2012 UK auction season was a resounding success, with several records broken on the way to a $2.8 million total. The Fine Watches and Wristwatches auction in New Bond Street, London, on Tuesday 18th December recorded the most registered bidders for a Bonhams watch auction, and one of the highest numbers of live internet bidder registrations of any Bonhams sale.

Some 237 lots sold for a combined total of $2,827,157. Leading the way was a very fine and rare 18ct automatic calendar centre seconds wristwatch made by celebrated watchmaker George Daniels that was one of only seven made in white gold. Made in 2000, its sale for $254,461 at Bonhams on Tuesday set a new world auction record for a Millennium watch.

80865624.h5XfhUwr.D2X_6837.jpg


Birkin Blower Bentley (1929)

Kao sto je bio vrhunski casovnicar nije mnogo zaostajao ni kao mehanicar.

"Bonhams" je u junu 2012-te prodao njegovu kolekciju od 8 automobila i 2 motora za £11 miliona.

oldenburgcollection.jpg


OmegaParagon4_zpsb367fdef.jpg


Omega Speedmaster koju je Daniels licno opremio ugradivsi svoju ranu verziju Co-Axial escapement. Daniels je sam izabrao ovaj sat, bez uticaja odgovornih ljudi iz same “Omege”. Iskoristivsi potom taj sat da ubedi industriju satova o prednosti svoje inovacije.


OmegaParagon0_zps8858d3fd.jpg


OMEGA De Ville Co-Axial 1999, no. “0”, od OMEGE “nasem prijatelju George Daniels-u”. Taj sat predstavlja svojevrsno priznanje industrilalizacije Co-Axial escapement-a, vazan deo “Omegine price”.

20090116_Co-Axial8_high.jpg


Invented by the late master watchmaker, Dr. George Daniels, in the 1970s and industrialized by OMEGA’s engineers and technicians in the 1990s, the Co-Axial escapement was a vast improvement on the Swiss lever escapement and addressed the problems of lubrication that had perplexed watchmakers for centuries.


OmegaMechanicalMoon_zps465dd405.jpg


It was the first practical new watch escapement in some 250 years – featuring an intermediary wheel, a double coaxial wheel, an escapement wheel and its components- and signaled a revolution in mechanical watchmaking. OMEGA enthusiasts along with watch connoisseurs will be able to enjoy an informational guided audio tour through the evolution of the escapement from its revolutionizing debut in 1990s, to its integration into present-day OMEGA Co-Axial calibers.

George je voleo klasicne Omege; za njega je dan kada je omega prestala da koristi svoje ‘in house' mehanizme, i pocela sa prilagodjenim ETA, bio crni dan.

showroom_coaxtech_planete.jpg


21. veka Leonardo da Vinci u mehanickom svetu, "Nacionalno blago", rekao je Mr.Collings . Bio je entuzijasta za satove, automobile i samog života, on je bio i ostao inspiracija za mnoge " .

OB-VE831_8danie_H_20121101120014.jpg


Broj 1 i u svetu nezavisnih casovnicara.

full_top2.jpg


Dr.George Daniels je napustio svet casovnicarstva, ali njegovo nasledje, elegancija, jednostavnost i vrhunska izrada jos uvek zivi.

George-Daniels-Watchmaking-Book-Review-12.jpg


“Svaki dan jedna linija”

-Leonardo Da Vinci

GeorgeDaniels03.jpg


Zeljezo hrdja ukoliko se ne koristi. Voda gubi svoju cistocu ukoliko miruje. Na isti nacin se neaktivnost ispoljava na ljudskom umu.

-Leonado Da Vinci

BBC - Isle of Man watchmaker Dr George Daniels is awarded CBE

'The Watchmaker's Apprentice' - Inside Story : George's Workshop on Vimeo

'The Watchmaker's Apprentice' trailer on Vimeo

'The Watchmaker's Apprentice' - Manx Radio interview with stills - YouTube


P.S.

O Dr.George Daniels-u se na portalu vec pisalo, moj povod je ovaj film i saznanje da je vrhunsko umece starog majstora preneseno na novog. Trudio sam se da bude razlicito i da se tekst obogati nekim novim detaljima.


Pozz
 
Last edited by a moderator:
"Nije blago ni srebro ni zlato, vec je blago sto je srcu drago"


5206207941_f33af71868_b.jpg


A young woman in kimono and traditional Japanese hairstyle looks at a white rose she holds. This postcard was published sometime between 1907 and 1918. During the early 20th century, picture postcards of bijin (beautiful women) were extremely popular in Japan.

Seiko je pokrenuo jos jedan svoj nezavisan stil, prave japanske kulture.


home_image.2777563.jpg



Ovo je Seiko „ GALANTEeee..


home_image.2777578.jpg


U tajnosti zapocet projekat, cineci napor da kreira izazov, sa jednim novim AHCI razmisljanjem, sa nekim cudnim stvarima, oblicima i dizajnom. U spring drive pogonu, cak i mehanickom, samo ne u quartz.

home_image.2779318.jpg


home_image.2779323.jpg


home_image.2778273.jpg


GALANTE- LE/ Opus divisionSEIKO. Godisnje produkcije 30 – 60 komada. Trebalo bi da budu sa malim varijacijama ali na istom kucistu,i dostupno kupcima bar narednih 5 godina. Svi ostali modeli ce biti ograniceni na 30-170 max.
Osnovna cena ovim modelima je $7,000 usd.
Svi ovi, pa nazovimo ih AHCI eksperimenti, rasprodani u Japanu za samo mesec dana.
U planu je da se prave i malo pristupacniji modeli, ali u seriji manjoj od 500 komada.

home_image.2778223.jpg


Dizajn je u jos uvek fazonu “savladjivanja krivina”. Estetika je Ili je volis ili ocima ne mozes da ga vidis. U fazi su koje smo videli kod prvih MBF1 ili URWERKS. Ili se to varam?

home_image.2777573.jpg


Ali jedno je sigurno, nema lazi nema prevare. Sve je rucno satavljeno, cak i narukvica. A svi delovi, kuciste, narukvica… rucno su polirani do savrsenstva , do sjaja belog zlata.

home_image.2778358.jpg


home_image.2778348.jpg



home_image.2778258.jpg


Zavrsna obrada cifera je interesantna kao i nacin na koji menja boju. Igra se toplo-hladno, crveno-crno. Kao seciva katana maceva, su skazaljke za sate i minute, a sekundara ima neku hm..formu, nazvanu “meseceva sablja”.

home_image.2778353.jpg


Da li ovaj sat na prvi pogled izgleda bas tako uzasno, mozda je veoma tesko da vam se svidi, inisijalna reakcija je „veoma ruzan“, bas kao sto su Antiqua i Opus V.

home_image.2778283.jpg



home_image.2778278.jpg



home_image.2777558.jpg


Rekao bih ipak, da u ovom trenutku, nedelim bas puno strasti sa ovim modelim-a. Previse pretenciozan dizajn, inspracija koja ne tece bas kao voda, vec je neka cudna mesavina detalja, ima tu zaista svega. Meni deluje malo nepovezano. Za jedan odlican dizajn, koji se stvara hiljadama sati, trazi se da na kraju izgleda „prirodno“, sta god to nekome od nas znacilo.

home_image.2778393.jpg


Mozda ovaj cifer, kao latice japanske bele ruze.


A sada drz'se! ;)

home_image.1269566.jpg



Znamo da Seiko ima mnogo boljih komada da ponudi, jedino je steta sto se takvi prave samo za Japan, ili se kratko vreme proizvode.


home_image.1269576.jpg


Daleko je ovo od
Grand Seiko ili nekog Credor sata. Ali Seiko nije uopste lako razumeti, mada se mora priznati da je ovo neka skroz druga prica.

Saban Bajramovic - Bele Ruze - YouTube


Pozz
 
Last edited:
^ Kakvi satovi!!! :w00t:
Satovi iz te druge priče i nisu baš po mom ukusu, da ne kažem nisu uopšte, ili još bolje "ne mogu očima da ih vidim". Ako se oni dopada ju nekome iz zemlje izlazećeg sunca, super, ali meni ne.
Pozz!
 
ZBOG VAS POSTOJIMO - ONE OF A KIND

AHCI-header.jpg


Casovnicarska Akademija nezavisnih stvaralaca.

Godina 1984-85. U jeku „Quartz-ne krize“, nekoliko entuzijasta se udruzilo na celu sa Vincent Calabrese i Svend Anderson-om, prvo kao forum koji bi pomogao pri promociji i odrzavanju zivotnosti, jednog dubokog poznavanja manje znanih majstora iz sveta casovnicarskog umeca. Ideja da se sacuva, brane i odbrane odredjene vrednosti, tih rucno izradjenih inventivnih mehanickih merioca vremena.

I tako je osnovana“
AHCI“-Académie Horlogère des Créateurs Indépendants -Casovnicarska Akademija nezavisnih stvaralaca.

Untitled-34%287%29.jpg





Svend Andersen, jedan od AHCI (Académie Horlogère des Créateurs Indépendants) osnivaca.


Untitled-32%287%29.jpg
Untitled-33%285%29.jpg


Sada, 28 godina kasnije AHCI je upravo orjentir, a svako ko ima „oko“ za izuzetne satove zna zasto se AHCI zalaze, da stoji i postoji kao referenca ostalima.

Clanovi ove akademije su za zivota bili, a neki su jos uvek, visoko postovane velicine u ovoj oblasti-umetnici svog zanata. Da napomenemo samo neke od njih:
Félix Baumgartner, Dr. George Daniels (a sada je tu i njegov jedini ucenik i naslednik izuzetan Roger W. Smith), zatim Philippe Dufour, Paul Gerber, Beat Haldimann, Vianney Halter, François-Paul Journe, Peter Speake-Marin, Thomas Prescher, Andreas Strehler i Kari Voutilainen.

Hand-finished bridge on Philippe Dufour’s Simplicity

Dufour-Simplicity-4-1-Custom.jpg



duality-back-3-1920.jpg



voutilianen-chronograph.jpg


Kari Voutilainen – rodjen i odrastao u Finskoj, sada zivi i stvara u Shwici.

fhhmag_slideshow_004096-003.jpg



Masahiro Kikuno sets time in motion


masahiro-kikuno.jpg


L1.jpg


Masahiro Kikuno (30) sada punopravan clan AHCI.

"The Japanese don't just copy others. They also invent and Masahiro Kikuno is a fine example of this creativity. An alumnus of Hiko-Mizuno College, one of Japan's top watchmaking schools, he shares the same fibre, the same passion as everyone at the AHCI, which is why we invited him to join our stand in Basel."

Iz godine u godinu, javnost i strucnjaci iz oblasti Horologije opsedaju AHCI stand na Baselworld-u, zaintrigirani da vide kakve nove primerke ova jedinstvena “labaratorija” ima da ponudi. Kreacije koje su vec odavno postale “izdajnicki znak” ove ustanove sa visokom reputacijom i postovanjem.

Lunohod-1-e1342697597199.jpg



Lunohod-4-e1342697620683.jpg




A Russian watchmaker based in Saint Petersburg, Konstantin Chaykin


Lunohod-3-e1342697558552.jpg


konstantin-chaykin-paris_zpsb6538b47.jpg



konstantin-chaykin-quartime-04_zps5a610fff.jpg


Konstantin Chaykin’s unique view on time

Porodican duh

"This year I'm playing the AHCI card," Antoine Preziuso, jedan od prvih koji se pridruzio objasnio je: Za nekoga kao sto sam ja, nezavisni casovnicar vec trideset godina, doci ovde je kao da dolazim svojoj kuci. Zaista je zadovoljstvo sto AHCI pokazuje izuzetnu inovaciju, od prvog dana velika imena –brendovi se motaju oko nas, mozda za neku ideju, inspiraciju za cifer, mozda kuciste…Ili da probaju da sklope partnersto. Svake godine je isto, zbog jednog jedinog razloga: Nista u Basel-u ne moze da se meri sa AHCI po svojoj kreativnosti. Mi dolazimo ovde kao jedna velika familija, pomazemo se uzajamno da bi pokazali sta smo kadri da napravimo.


83809012.png


Poruka nade

Ovaj familijaran duh je dobio svoj “definitivan zig” kada je AHCI od cpecijanog zirija dobila nagradu Grand Prix d'Horlogerie de Genève u novembru 2010. Iste godine kada je AHCI Akademija slavila 25 godina postojanja. Aurel Bacs, Internacionalni zajednicki sef satova za Christie's, dosao je na podijum da predstavi nagradu sa recima: Dragi prijatelji, hajde da se stavimo u kontekst. Rana 1980. Swatch satovi su tek bili “lansirani”, François-Paul Journe je napravio svoj atelje, Maximilian Büsser jos uvek ne moze da preboli Grendizer i veliku secu knezova, a ogromnu vecinu satova pokrece quartz movements. Ali . Yet Svend Andersen i Vincent Calabrese nisu ni za trenutak izgubili veru u doba mehanicarskih satova, a kada su postavili i osnovali AHCI stvorili su jedan lep san, udahnuli su ponovo zivot jednoj viziji.


Lang-Heyne-Caliber-I-Mammoth-Ivory-1.jpg


Marco Lang from Lang & Heyne

AHCI trenutno ima 36 clanova i 5 novih kandidata za clanstvo, a taj se broj iz godine u godinu menja. Svako stoji iza toga da pored industrijske proizvodnje satova koja treba da postoji, AHCI je tu kao nepokolebljivo uverenje, da zanatski satovi moraju da imaju svoje znacajno mesto. Vincent Calabrese jos kaze: Sada zenjemo sto smo posejali, prvobitan cilj je bio da se ostavi konstruktivan trag, da se prenese poruka nade za one kao i ja, koji zele da proizvedu izizetne klasicne merioce vremena. Dok ce za sve nove inovacije tehnicke i estetske, vreme koje dolazi pokazati da smo bili u pravu.


fhhmag_slideshow_004094-006.jpg


Andreas Strehler Papillon

fhhmag_slideshow_004094-008.jpg


Antoine Preziuso, Antoine Preziuso Genève Power Inside Unlimited


fhhmag_slideshow_004094-007.jpg
Kari Voutilainen, Voutilainen Minute repeater 10

andersen.jpg



Svend Andersen, Andersen Genève Rodinia


fhhmag_slideshow_004094-005.jpg


Thomas Prescher Triple Axis Tourbillon Regulator



fhhmag_slideshow_004094-004.jpg


Peter Speake-Marin, Speake-Marin Marine 2 Thalassa



25e699b7ec.jpg


gerber_p10_1.jpg


Paul_Gerber_p10.jpg



gerber_p10_back.jpg



Idealizovana slika mehanickog merenja vremena, personifikovanje casovnicara u oblikovanju, pravljenju i sklapanju slozenih komponenti, i sa velikom ljubavlju u ukrasavanju tih izuzetnih ostvarenja.

Ne tako davno, biti nezavisan casovnicar, stvarati na radnom stolu se videlo kao rizican izbor.

haldimann.jpg


Beat Haldimann, Haldimann Horology H8 Sculptura

Sada su to visoko trazeni primerci ljutih kolekcionara, a u potrazi za zadnjom recju tehnologije i zastitnim znakom rucno pravljenih, tih posebnih primeraka svoje vrste.
Koji su takvi da ce se zbog svoje atraktivnosti izlizati od preterane upotrebe rukovanja i izlozenosti tudjim pogledima. ;)


images



images



MasahiroKikunoTourbillon2012.jpg


MasahiroKikunoTourbillon20121.jpg


Jednom recju, AHCI je postao sastavni deo casovnicarskog pejsaza, svojevrsna garancija da je buducnost ove profesije u dobrim rukama.

592180_484232298301432_1460941943_n.jpg



Pozz
 
Last edited:
CUDESNA SPRAVA

images


Moj djed Rade plasio se ne samo raznih zivotinja (zmija, dazdevnjaka i riba) nego je zazirao i od mnogih sprava i masina: od pusaka, termometara, vaser-vage i tako dalje.Ni pod kakvim izgovorom u nasu kucu nije se smje*la unijeti puska: ni puna ni prazna, ni pokvarena, ni rastavljena. Od pogleda na termometar djed je dobijao vrtoglavicu i stuzivalo bi mu se u stomaku, a od vaser*vage je zakretao glavu kao od urokljivih ociju. Medutim, jedino je prema satu oduvijek imao ne*ko posebno strahopostovanje gledajuci u njemu tajan*stveno bice koje zivi svojim zagonetnim zivotom, cis*tim i mudrim kao kod kakvog drevnog pravednika. Nije ga cak volio ni u ruke uzeti, bojeci se da ga na neki nacin ne obesveti i ne uprlja.

images


Djedov rodak Sava, stari lopov i nikakva vjera, cesto bi se oko toga dohvatio s djedom.
- Ma kako ti to zazires od sata kao da je pred tobom ziv stvor, a?
- Pa dasta je nego ziv - mirno kaze djed.
- Sat ziv?! - zabezekne se Sava.
- Ziv, bogme, i deset puta mudriji nego ti.
Iako bas nije bilo tesko ispasti mudriji od Save, starcic uvrijedeno puse:
- Mudriji od mene? O, vidi ti njega.


swiss%20watch.JPG


- Da, da. U po dana, u po noci, kad ti god drago, samo ga otvoris, a on ti cak, cak! - toliko i toliko sati. Ehe, dragi moj, a ti ne znas ni na koliko si mjesta supalj, a kamoli sta drugo. Djed poucno digne prst.

images


- Prema jednom satu, brate Savo, ti si jedna obicna bena.
- Dasta sam nego bena. Kod Babica se pece rakija, a ja ovdje kod tebe dzaba tupim zube - iskreno priznaje Sava i dize se da pode.
U nasoj kuci, otkad se zna i pamti, nikad niko nije imao sat, nit je ko znao da po njemu cita vrijeme. Moj stric Nidzo, kad se vratio sa solunskog fronta, pravio se da "zna u sat", ali kasnije se ispostavilo da on umije samo ponesto oko male kazaljke, pa je njegovo odredi*vanje vremena ispadalo, otprilike, ovako:
- Jos samo kolik za jedan nokat pa ce podne.
To "gledanje u sat" za mog je djeda bila jedna isto tako tajanstvena i pomalo natprirodna umjesnost kao i gatanje u dlan. Ako si roden za to, ti ces tu rabotu i nauciti, ako pak nisi, dzabe ti je.
Da zene ne znaju u sat i da to nisu zenska posla, to je za djeda bilo nesto sto se samo po sebi razumije. Jedne godine i nasa kuca dobi sat. Bilo je to ovako: Imao ti je djed jednog pobratima i prijatelja, nekog Petraka, samardziju po zanimanju. Taj ti je citave godi*ne lutao ispod Grmeca, od sela do sela, i ljudima pravio i popravljao samare, propijajuci svoju zaradu cesto vec i na licu mjesta, uz domacina kod koga je radio.
Na Miholjdan, krsnu slavu nasu, Petrak je osvitao kod nase kuce, svecan i obrijan, i zdravio se s djedom:
- Pobratime Rade, da nam bude srecan danasnji svetitelj.
Ostao bi tako koji dan, napio se, napricao, ispregledao djedove samare i jednog jutra, evo ti ga, obuvena i potpasana, ljubi se s djedom i utjesno prorokuje:
- Brzo cemo se mi opet sresti, pobratime, okrugla je zemlja.
Jedne godine tako, rastajuci se s djedom, on mu pruzi povelik izlizan dzepni sat.
- Evo ti, pobratime, ovo ces mi sacuvati za dogo*dine. Zaradio sam ga u dobra covjeka, pa mi je sve strasivo da ga djegod ne propijem.
Djed obrisa oba dlana o caksire i primi sat pobo*zno kao naforu pred oltarom.
- U redu, pobro, bice pazeno k'o oci u glavi.
Sat je bio zakljucan u djedov sanduk i na njega se brzo i zaboravilo, sve dok ja jednog dana ne doperjah iz skole ponosito se sepureci:
- Djede, ja znam gledati u sat, ucili nas u skoli.
- Idi, beno, gdje ce dijete znati u sat. Hajde de, da si bar vojsku odsluzio, drugo bi bilo.
- Bogami, djede, znam. Znam ga i naviti pa da ide.
- E, e, lazi samo.
- Daj vamo pa ces vidjeti.

Watch.jpg


Moljakao sam, ulagivao se, aja, nije pomagalo. Tako cijenjenu stvar u djecje ruke, to je za djeda bio odvec velik rizik.
Sljedeceg Miholjdana pobratim Petrak ne pojavi se na nasoj slavi. Djed se zabrinu.
- Da nije bolestan, bog ti ga vidio?
Propitivao se za nj u varosi, na stocnoj pijaci, na crkvenom saboru, ali od pobratima ni traga ni glasa. Te jeseni niko ga pod Grmecom nije vidio. Na jednome mjestu djeda utjesise pricom kako je stari govorio da ce pre*ko Une, u Kaure, da tamo pretresa i pravi samare.
- Bogami ce njega, onako pijana, gdjegod umlatiti i opljackati Kauri, lopovi su to - vajkao se djed.

artlimited_img186988.jpg


Jednog popodneva, tek sto stigoh iz skole, djed me tajanstveno pozva u svoj sobicak. Bio je sam kod kuce.
- Odider vamo.
Poceprkao je po svom sanduku, izvadio iz plave hartije Petrakov sat i nepovjerljivo me pogledao.
- A znas ga naviti, velis?
- Znam.
- Deder.
Starac me usjede na svoj krevet, stavi mi sat u ruke i bez daha se zagleda u moje prste. Kad je navijanje bilo gotovo i sat zacaktao jasno i ravnomjerno, on ga uze u ruke, prinese desnom uvu i sav ozaren prosaputa:
- Aha, radi, radi, kuca!

1593279_bb25689ca0_b.jpg


Spustio je sat u krilo kao da se odmara, zagledao se nekud u daljinu i obradovano protepao:
- A, znao sam ja da je on ziv, rda jedna. Ziv i zdrav.
- Ko to, djede?
- Moj pobro. Da je on mrtav, i njegov bi sat umro. Pa da, tako ti je to.


0001150194_l_0_uxm2mj.jpg


Toga popodneva djed je bio toliko udobrovoljen da me je navece cak i u mlin poveo. Do dugo u noc sjedili smo na mlinskom pragu i gledali u pun mjesec, nas dvojica, velika i mala bena, a okolo su regatale zabe pa uz tu kreketaljku nisi znao jesi li jos na zemlji ili zajedno s mje*secom ronis kroz rasperjane naviljke oblaka.

-Branko Copic, Basta sljezove boje


elgin-watch-face.jpg


Branko Ćopić - Bašta sljezove boje i Čudesna sprava - YouTube


Zelim Vam jos puno satova koji se vama svidjaju...


best-watches-of-sihh-2013-gear-patrol-full.jpg



Top-10-ten-watches-living-legends-reviews.jpg



I neka Vas uz dobro zdravlje sluze.

atomic_watches_03.jpg



Pozz
 
RONIOCI KOJI DUBINU ZNACE
deep_sea_divers_vintage_1873_illustration_posters-r2a761f518a41422caf1cc51c26ccd7aa_ai1qw_8byvr_512.jpg


Vintage deep vibe


il_fullxfull.313866643.jpg


Ovde ce biti vise reci a manje slicica, ;) o satovima i firmama koje su ih pravile. Neki su ot tih "ronioca" vec davno zaboravljeni i ultra su retki. Neki su pak doziveli renesansu i opet su medju nama u svom punom sjaju i spremnoscu da ispune "najdublje" zelje.


U sledecem nastavku ovog ronilackog zapisa, izdvojio bih ako mi dozvolite, samo te neke, kako rekoh ultra retke vintage “Ronioce koji dubinu znace”. I to samo one od 1KM. ili ti hiljdarke u metrima, e sad’, ako se provuce tamo neki sa kojim metrom vise ili manje, onda iskrena izvinjotka, bilo je stavrno namerno.


“Mi smo pioniri, i jos uvek smo to i danas”

Squalemaniaaaa...

squale-professional-diving-watches03.jpg


Zasto pocinjemo od njih, pa ima mnogo razloga , videcete ako budete ostali sa nama i posle obaveznih reklama.;)

1866.jpg


Squale je mala familijarna italijanska companija iz Milana, koja je od 1946 godine snabdevala delovima-primarno svojim kucistima neke druge kompanije satova. I to je tako trajalo do 1967. a tada je ta mala fabrika spojena sa"von Büren S.A. / Montres" (Neuchâtel / Swiss).

Squale brand je sinonim za Swiss Made professionalne ronilacke satove. Narocito za one koji nisu imali znanja da se upuste u proizvodnju takvih zahtevnih karakteristika koje profesionalni ronilacki satovi zahtevaju.Kao prvo vodootporna kucista, poklopci, zaptivajuce krunice...


900615d1355145770-please-educate-me-about-squale-2.jpg


Da bi u 60-tim Von Buren poceo i proizvodnju svojih satova (mada je nastavio i prodaju svojih kucista) koji su, sto je i sasvim normalno imali Squale ime i logo na svojim ciferima, pocevsi tako svoju institucionalnu i komercionalnu istoriju.

34rgebp.jpg

r9pkio.jpg


Njihov zastitni znak-marka je “Squale” (bazirano na italijanskom"Squalo"- ajkula), omogucio je i drugim kompanijama da kupuju i koriste njihovo kuciste kao i reputaciju, pod uslovom da pokazu-stave njihov logo “Squale” na donji deo svojih cifera. Takva kucista su bila namenjena i za mnoge manje nezavisne firme satova.

BlueSquale8.jpg


Za one koji se prvi put susrecu sa ovom ronilackom legendom, treba reci da je Squale tu bio sve vreme, ali nedovoljno primecen, kao u tami velikih dubina. Cak ga i mnogi italijanski kolekcionari nisu primecivali, taj dragulj koji su vec davno mogli imati na zglobu. Samo su ga oni najiskusniji kolekcionari, stari macori, uvek drzali na oku i bili na oprezu.


Prvi uspeh (sportski) koji ga je dodatno promovisao postigao je na world diving sampionatu, Cuba 1968. Kada je legendarni medium, Master 50 atm. bio povezan sa mnogim velikanima ovog sporta. Jacques Mayola,Maria y Giuliana 'Jolly' Treleani, Tony Salvatori, Jean Tapu…..
U 70-tim, Squale predstavlja prvi 1000 metara otporan sat, sa sapphire crystal-om i revolucionarnim bezel-om, koji se pokretao samo pod umerenim pritiskom i rotirao u oba smera.

1970.jpg


Jaques Mayol, jos poznatiji kao "covek delfin
".

Squale je u jednom trenutku bio partner i sponzor Maria y Giuliana 'Jolly' Treleani, trostrukoj svetskoj sampionki u apnea disciplini. 1965.- 1967.Nazalost ona je tragicno igubila zivot 1971.


Zaustavili su proizvodnju automatskih mehanizama krajem 80-tih, i kao i ostali u tim vremenima fokusirali na njihovu quartz liniju. Takvo je vreme bilo, dovoljno da polako “izblede” i da za mnoge izadju iz secanja.

Da dostojno predstavimo "Squale" bice slika satova koji nisu samo atestirani za 100ATM/1000M.
Ono sto je interesantno je to, koliko je njihovih karakteristicnog oblika kucista korisceno od strane drugih mnogo zvucnijih imena.

Prestiznih firmi iz sveta ronilackih satova.

Squale Super, Master, Medium, and 1000M kucista su prodavali brendu kao sto su: Altanus Genève, Arlon, Potens Prima, Prima Flic, Jean Perret Geneva, Ocean Diver / Blandford, Deman Watch, Margi, Berio, Eagle Star Genève, La Spirotechnique, Wertex, Carlson Tavernier Geneva, Sinn...(pazi, pazi i Sin-ovac je tu).;)

Ohhh.. spomenuh li i Darwil, o da, i Darvil-ijanovich je imao svoje duboke ronilacke dane.

Skoro svi ti satovi ce kasnije biti prikazani, pa ko voli izvolte vi, ne zurite bice za svakoga po nesto.

1028278d1364653801-squale-watches-now-free-shipping-worldwide-img209-copy.jpg


Mr. Charles Von Buren

I tako se C. Von Buren profesionalno obavezao da pravi elegantne, dobre, sigurne-pre svega pouzdane ronilacke satove, za sve znatizeljnike-istrazivace, ronioce u najdubljim morima i okeanima. Velika svajcarska tradicija preciznosti u pravljenju satova, kombinovana sa ljubavlju prema moru i ronjenju, dva vazna faktora koja su vodila C. Von Buren-a da ekskluzivno radi na konstrukciji profesionalnih ronilackih satova, jos od tih ranih pedesetih.

Squale nastavlja da proizvodi svoje satove strogo namenski, mada istovremeno snabdeva i italijanske specijalne snage, Folgore Brigadu, karabinjere, vojnu policiju, mornaricu i mornaricki ronilacki korpus.

Mada treba napomenuti da Squale nije bio zvanican sat svih tih pomenutih vojnih grupacija. Vec je samo koriscen zbog svojih dobrih karakteristika od istih.

Sve je to uticalo da Squale bude reper marka za sve ronilacke satove. Taj status je uzivao nekoliko decenija, preko 20 godina je snabdevao vojsku- mornaricu mnogih zemalja. To je bio sat izbora za spec-ops, Czech, Polish, French Navy , UDT, German Federal, neke nordijske zemlje, SAS, i Australijske ronioce, takodje i za US Navy ( SEAL, underwater demolition team, frogman).

Squale je 60- tih i 70-tih bio top proizvodjac kucista i za neke druge zvucnog imena kompanje ( narocito sa svojim 500m kucistima sa krunicom na poziciji 4 ). Od Airin, Dodane ,Tag Heuer-a do Dox-e i Blancpain-a ( u Bund 3H), Zeno i Avricoste (u Spirotechnique verziji). Ali iz svima razumljivih razloga, mnogi od njih nisu stavljali Squale logo na cifere svojih ronilackih satova.

32330048nr4.jpg


BLANCPAIN Fifty Fathoms u SQUALE 500M kucistu

2drwh4.jpg


Ovo su samo neki od onih besramnih koji se nisu dali obavezati da na svojim ciferima stave obelezje Squale. Verovatno da se to kasnije kroz istoriju ne bi uticalo na njihovu reputaciju
Sram da im udje. ;)



watagspiro9ew.jpg


auricoste-spirotechnique.jpg


1232247164_05f5b2c740_o.jpg





934641d1358128316-vintage-zenith-divers-black-white-zenith1000mface_zpsdc1e7cdc.jpg

Ne bismo ulazili u polemiku da li je i ovo kuciste Squale, ali oblik i puno detalja upucuju na to.
Napomenjeno je da se mnoga zvucnija imena nisu pridrzavala obaveznog obelezavanja Squale na ciferu.

934643d1358128394-vintage-zenith-divers-black-white-zenith1000mserial_zps42db09c3.jpg


Kao sto smo rekli iz vec razumljivih razloga.

934645d1358128428-vintage-zenith-divers-black-white-zenith1000mmvmt_zps31074cb8.jpg


934647d1358128472-vintage-zenith-divers-black-white-zenith1000mfull2_zpsb1c3fe8e.jpg


Zenith aka "Beli", ili kako ga je njegov vlasnik od miloste nazvao: "Beli kit"

934666d1358131212-vintage-zenith-divers-black-white-zenith1000mdetail_zps6aa89615.jpg


IONTIME-Zenith-Divers-1970-2013.jpg


A onda bi ovaj bio "crni kit".

821181d1347646509-please-post-your-zenith-s-photo-1.jpg


A ovaj Zmajevsko plavicast.;)

zenith-orange-diver-1.jpg


Vidi se da je taj oblik kucista bio trend tih ranih 70-tih. Ali isto tako Squale je bio glavni snabdevac, pa zasto sumnjati u njihov vec proveren kvalitet.



zodiac-ssw-1-350x466.jpg



Zodiac Super Seawolf valjoux 72 chronograph


Between 1974 and 1984

besides the above mentioned models
they began to benchmark their cases with the Characteristic 4 digits
reference numbers they continued to produce the master medium and super
but their 500 meters models
were given the reference
professional 1521

That way the
1000m models recieved the ref # 2001 and 2002
to models 100atm and 101 atm respectively
the 500m Squale backlit bezel and beveled benz hands
rolex type # ref 2003, Corallo line were references 2006
and introduced the tiger in 1984
a self-designed and inspired by the Omega proplof as ref 2007



1988.jpg


A sada nastupa ona "sitna boranija" nezavisnih tuznih i zaboravljenih.

Squale rane godine 1967-1974.

vipow6.jpg


WERTEX SQUALE MEDIUM

11tl8wg.jpg


WERTEX SQUALE MASTER 600M

%21BcuOVUgB2k%7E%24%28KGrHqUOKjcEq5cuI2%283BK1v40zcBw%7E%7E_12.JPG

%21BcuOefQBmk%7E%24%28KGrHqIOKkQEq25PIh%2BOBK1v5nVgUg%7E%7E_12.JPG


VERYWATCH CASE MASTER 301 (30ATA) 1972

280476371_o.jpg

280476419_o.jpg


VELESTER CASE MASTER 100ATA (1000m)

9d0f_3.JPG


a6d1_3.JPG

a34c_3.JPG


TAVERNIER WATCH

IMG_0905.jpg


TAVERNIER SUPERMATIC CASE TYPE COMPRESSOR 20ATA (200M)

tavernier3.jpg

tavernier4.jpg


TAVERNIER SAPHIR 100ATA (1000m)

5bc7_1.jpg
5ca5_1.jpg


TAVERNIER MASTER 301 (30ATA)

65fe_1.JPG
64d8_1.JPG


SVE DIPPY 25ATA

%21BNdwtwQ%212k%7E%24%28KGrHgoH-DQEjlLlu3hQBJpwBPPCyg%7E%7E_1.JPG
3380_1.JPG


PIMAX SQUALE CASE SUPER 20ATA

t06vk8.jpg
28wp4p2.jpg

4r2sn8.jpg
mm4z1i.jpg


POTENS PRIMA SUPER 20ATA

POTENS%20003.jpg


OCTUS 100ATA SQUALE CASE MASTER

%21Bbwjr%20%21BGk%7E%24%28KGrHqIH-D%21Eqtbsy9vNBK%29hY4PH6%21%7E%7E_3.JPG


%21BbwkL6%21%21Wk%7E%24%28KGrHqYH-DoEqvDt2YC5BK%29h%2C%29ql3%21%7E%7E_3.JPG


Retka verzija, dupli datum i karakteristicno kupolasti-dome plexi.

SQUALE NOBLEX MASTER CARCASSA 301 (30ATA)

msg6br.jpg


SQUALE NILEG SUPER ATA 20

a408_1.JPG


SQUALE MARGI CASE MASTER DOMED PLEXI (100ATA)

%21BYF2fyQCGk%7E%24%28KGrHgoOKjgEjlLmZRFRBKfw%28kZ8eg%7E%7E_3.JPG


%21BYF2hQg%21Wk%7E%24%28KGrHgoOKjcEjlLmYj%28RBKfw%28phzo%21%7E%7E_3.JPG


SQUALE MARGI CASE MEDIUM

Margi_squale_om.jpg
3149ft1.jpg


SQUALE KALOS SUPERMATIC (20ATA)

KALOS3.jpg


ka2aw1.jpg


kajb0.jpg


SQUALE KALOS 600

2rpxmr9.jpg


SQUALE LORDAN 500 PROFESSIONAL

BcNjteg2kKGrHqIOKiwEq4bSsd8jBKzgt6eBHQ_12.JPG


SQUALE HERODIA 1730 (30ATA)

sqak.jpg
sqaw.jpg


SQUALE HOSAM 1537 (30ATA)

hosam3.jpg


hosam7.jpg


Pored kucista, poklopa, bila je obaveza da i krunice koje su isporucivane budu sa znakom Squale.

hosam9.jpg


SQUALE HAI SAPHIR 100ATA (1000M)

%21Bcz8%28MwBGk%7E%24%28KGrHqMH-D8ErGJ%2BHbDNBK2JSK2%29Y%21%7E%7E_3.JPG


%21Bcz8d5wB2k%7E%24%28KGrHgoH-DEEjlLl0zoyBK2JSi%21-uw%7E%7E_3.JPG


%21Bcz8r3Q%21mk%7E%24%28KGrHqYH-DIEq0k1GFk%21BK2JTR2Bpw%7E%7E_3.JPG


Kao sto je gore napisano 1000m modeli su imali ref # 2001 i 2002 na poklopcu.

SQUALE FELSERS 600M BLUE & ORANGE

29yrzav.jpg


2s7b8fc.jpg


A sada par Darwil-ijanovicha nama nekad tako dragi - Master Squale 100ATM
$%28KGrHqF,%21o0FG05sZ%21JsBR3vC4%29sSQ%7E%7E60_35.JPG


Darwil supermatic-compresor- sa unutrasnjim bezel-om.

squale_darwil_1.jpg


Jos jedan Squale Darwil Supermatic

29vjbk7.jpg


900616d1355145770-please-educate-me-about-squale-3.jpg


Redak Squale Oscar 20atmos/ diver chrono

squale_chrono-1.jpg


900618d1355145770-please-educate-me-about-squale-5.jpg


Squale Potens Master 100atmos

master_1_2.jpg


Squale Blandford Ocean Diver 100atmos

blandford_ocean_black_dialed_pro.jpg


900620d1355145770-please-educate-me-about-squale-7.jpg


Berios-i Squale iz quartz-nog doba

900617d1355145770-please-educate-me-about-squale-4.jpg


900614d1355145770-please-educate-me-about-squale-1.jpg


Ako se nekom svideo kais sa crnim stepom kao detaljem (gornja slika), to je od SteveO "The Beast."
Steveo Straps | Handcrafted Leather Watch Straps

SQUALE FISHER-EXTRA CASE SUPER 300M

%21B%2C7k3WwBmk%7E%24%28KGrHqEH-CsEqtfb7C4%29BKtpFcuWhg%7E%7E_3.JPG


%21B%2C7k%2BWg%212k%7E%24%28KGrHqQH-DYEqu0j%2BH%21CBKtpFyDN1g%7E%7E_3.JPG


%21B%2C7lHHQCGk%7E%24%28KGrHqYH-CoEqvE%2ChnNHBKtpGHFNqg%7E%7E_3.JPG


SQUALE EAGLE STAR GENEVA ATA 100

%21BjM%2B7GQ%21mk%7E%24%28KGrHqEH-EMEs8kiCZUgBLSkJKr31w%7E%7E_3.JPG


%21BjQdLo%21%21Wk%7E%24%28KGrHqYH-C4Es-s5-d%2B%21BLS1Btj%217%21%7E%7E_3.JPG


%21BjM%2B%294w%21mk%7E%24%28KGrHqMH-DsEs%2B%2CdDCVZBLSkIzGvcQ%7E%7E_3.JPG


%21BjM%2B%2B%21Q%212k%7E%24%28KGrHqUH-DkEs%2B2qnryPBLSkJTpuQ%21%7E%7E_3.JPG


%21BjN%21Gsg%21mk%7E%24%28KGrHqQH-D4Es94M15%215BLSkJni21Q%7E%7E_3.JPG


I opet jedan sa plavim ciferom za Zmajceka.;)

P1020314.jpg


P1020315.jpg


SQUALE EAGLE STAR GENEVE -medium verzija

10981_077a-645x510.jpg


SQUALE EAGLE STAR GENEVE PROFESSIONAL 500M
Jedan od prvih 500M profesionalnih komada

big-squale-face.jpg
squalecrwnside.jpg


SQUALE EAGLE STAR GENEVE SAPHIR EXTRA 1000M

2l8aidk.jpg
14910kg.jpg


fjhvlj.jpg


I Sin-ovac mu, za koga su rekli da ne postoji.

SQUALE SINN SAPHIR EXTRA 1000M

b9761fa4.jpg


A za ovu Royce bracu takodje sumnjamo da su delili "Kucice" Squale. Heeej...a kako to dokazat, kada su slicne ko jaje jajetu.

639211d1330515107-i-have-weakness-ugly-bulbous-1970s-dive-watches-anybody-same-suggestions-royce_x2-map.jpg



Nastavak sledi, sumoran i dosadan, sa jos puno slika koje velicaju slavu i uspeh, jednu prestiznost, ako mi dozvoljavate da tako da kazem. Squale dominaciju ili samo poslovnost u tom datom vremenu, pravom trenutku, zapisanom samo u tefterima nekih kolekcionara.

"Ronioci koji dubinu znace".

Ajd...pa kome je dosadno bilo, vi izvolte paljba, razlaz.


Pozz
 
Last edited:
AAAAAAAAAAAAAAA kakvi satovi,ovo je ludilo.Najezio sam se,hvala Shibumi :adore:
 
Shibumi, tek sam sada zapravo naleteo na ovu temu, prekotrljao sam je i svaka cast na trudu i informativnosti. Neces mi, nadam se, zameriti sto me mrzi da ti dam "like" na svaki post, posto ima mnogo da se kotrlja a to nisam odradio na vreme. Iako "like" svakako zasluzuje ! Svaka cast !
 
Hvala onima koji su nasli u ovim pisanijama nesto zanimljivo. A svima se iskreno zahvaljujem i ako nista drugo, zelim prijatan ostatak veceri.
Lepo druzenje, uz dobru knjigu i jos lepsi sat.;)

Squale6_zpsc9161972.jpg


949215d1359195281-squale-workshop-visit-img_5893.jpg


Squale firma osnovana od strane Von Buren porodice , koja tada mozda nije ni sanjala, da ce i 60-tak godina kasnije, mnogi entuzijasti biti fascinirani tim satovima, kao i daljem razvoju istih.

405895d1300379293-fs-vintage-squale-1000m-box-papier-nos-squalej.jpg


Ko je bio dovoljno brz, mogao je doci u posed jednom ovakvom NOS
vintage Squale 101atmos (1000m), original celicna narukvica, kutija & papiri, za 750 euricha.
Squale-3276O.jpg





Charles Von Buren je bio lider te ronilacke porodice, veoma aktivan i predusretljiv, bio je u vrhu ronilackog bratstva. Uvek na cutting edge razvoja satova za scuba diving, ribolov, slobodni zaron…

949225d1359196230-squale-workshop-visit-img_5038.jpg


Monique Von Buren (cerka osnivaca Charlea Von Burena-a), koja je morski biolog po struci i strastveni ronilac, ljubav koju je nasledila od svojih roditelja.

01.jpg



949228d1359196282-squale-workshop-visit-img_5095.jpg


Squale sa sedistem u Milanu, u svojim prostorijama ima izlozene mnoge stare modele satova, vredne uspomene, trofeje, nagrade, cak i prave zube ajkule, stari poklon jednog zadovoljnog kupca, profesionalnog ronioca.

949232d1359196379-squale-workshop-visit-img_5071.jpg


Jos jedan za Dalibora, da posle ne kaze...

949233d1359196398-squale-workshop-visit-img_5078.jpg


U cast cuvenoj padobranskoj brigadi.

Folgore brigada slavi svakog 23-ceg octobra godisnjicu bitke kod El Alamein (1942).

Po zavrsetku druge bitke kod El Alamein-a, Britanski general Hughes, komandant 44-te pesadijske divizije je rekao: Zelim da kazem da u celom svom zivotu, nikada nisam video vojnike koji se bore kao ovi iz Folgore brigade.

A sada opet sitna pesadija nastupa.

SQUALE ELECTRA CAJA SUPER (30ATA)

%21BSnKeqQBWk%7E%24%28KGrHgoOKi0EjlLmV1mnBKEFtu3z6Q%7E%7E_1.JPG
9731_1.JPG

%21BSnK3YwBmk%7E%24%28KGrHgoOKiMEjlLmVOYOBKEFuglQtg%7E%7E_1.JPG


DUWARD SQUALE SUPER 300M

14lo4sw.jpg


2pqrrxv.jpg


DEMAN WATCH SQUALE MEDIUM (20ATM)/(30ATM)

w6s6px.jpg


3516f00.jpg


iw1b9e.jpg


33f4y39.jpg


SQUALE DEMAN WATCH BUND

2rp396s.jpg


30vemaf.jpg


SQUALE DEMAN WATCH SUPER

%21BPTQm8wBGk%7E%24%28KGrHgoH-EQEjlLluvvMBJy8-%28Pwfg%7E%7E_3.JPG


SQUALE DEMAN WATCH MASTER SAPHIR 100ATA

ce60_1.JPG


c5b4_3.jpg


fae7_3.jpg


d5d5_3.jpg


SQUALE DESOTOS SUPER

648d_1.JPG
63a6_1.JPG


SQUALE CORDIA CITTA- A thing of beauty/ Sat koji po svemu zasluzuje da bude prikazan u vise fotki.

104kmer.jpg

2ec2ivm.jpg

a1ixzo.jpg

14mywph.jpg

27xmpf9.jpg

1zpl34i.jpg


SQUALE CITTA

Isti model uporedjenja radi, kada je Squale poceo sa proizvodnjom pod svojim punim obelezjem.


qywkeb.jpg

bh0ub9.jpg

728x8w.jpg

wtd7qv.jpg


SQUALE CARLSON 600M

262pkzb.jpg

2jaatdc.jpg


BRITSCARD SQUALE MASTER

abh107158.jpg

squale014.jpg


BERTHOUD DE LUXE SQUALE SUPER

%21BgGQLugBmk%7E%24%28KGrHqMOKicErwl4p5FRBLD8kC6Ppw%7E%7E_12.JPG

%21BgLMiZ%21Bmk%7E%24%28KGrHqQH-CwEsLtZ%28HGIBLEUDrjJng%7E%7E_12.JPG

%21BgLMbDgCGk%7E%24%28KGrHqEH-DkEsLt%29kYrwBLEUDQg2%29%21%7E%7E_12.JPG

%21BgLMepQBGk%7E%24%28KGrHqIOKk%21EryD9g2pzBLEUDdd7zQ%7E%7E_12.JPG

%21BgLMQu%21BWk%7E%24%28KGrHqQOKi4Eryy%28%2BI%286BLEUCq3GKg%7E%7E_12.JPG


A sada opet jedan od najtrazenijih modela Squale "OCEAN DIVER"

Kada je Nigel Blandford (of Blandford SA) usao u saradnju sa Von Buren Horlogerie of Neuchatel,
1972 godine

Nedostizan i retko lep primerak svoje vrste, dovoljno da nekim kolekcionarima odmah zaustavi dah.

blandford3.jpg


SQUALE MASTER OCEAN DIVER BLANDFORD SA ATA100

blandford2.jpg
blandford7.jpg
blandford1.jpg

blandfordglow.jpg

blandford4.jpg

blandforddome.jpg


9962_3.jpg

6c69_3.jpg


aa33_3.jpg


8c04_3.jpg


4d93_3.jpg


Squale OCEAN DIVER Master 100 ATMOS

11002_069b2-930x754.jpg

11002_046a-480x388.jpg


11002_046b-405x330.jpg


SQUALE BLANDFORD SA OCEAN DIVER DEEP BLUE

2q8sqe1.jpg


o5azah.jpg


24fk57a.jpg


2s14oee.jpg


SQUALE BLANDFORD SA OCEAN DIVER MASTER BLACK

11002_069-930x755.jpg


11002_044a-450x360.jpg
11002_046-450x360.jpg


Ovde je malo uporedjenje sa Rolex-om, da li je to pristojno u trenu tom.;)

10981_0312-480x379.jpg


SQUALE OCEAN DIVER BLANDFORD SA 1535 PROFUNDOUS

Sa hidraulickom tecnoscu (onako prosto receno) za merenje pritiska-dubine vode kod zarona, po slicnom principu kao i kod * AQUADIVE satova.

*Aprila 16th 1968 US patent je prijavljen za izum koji omogucava merenje dubine vode-pritiska. Pronalazak koristi mehanicki system da se meri pritisak vode koji okruzuje sat kod zarona.

Koristeci hidraulicnu tecnost i zupcanike za preenos tog merenja, koje se ocrtava na kruznom pokazivacu, ukazujuci dubinu. Patent je registrovan na ime Aquadive watch company i ovaj patent ugradjen u Aquadive satove se smatra kao jedan od najvecih u svim ronilackim satovima 70-tih godina.
Ajd… da mi to verujemo, pa maker nas i slagali. ;)

squale1.jpg

squale4.jpg

squale2.jpg

squale3.jpg


BERIOS SQUALE MASTER

berios_squale.jpg


BERIOS SQUALE PROFESSIONAL

%21B%28w6iQwBWk%7E%24%28KGrHgoOKiMEjlLmV6SyBKd%2Be30Oj%21%7E%7E_3.JPG


%21B%28w8D3gBGk%7E%24%28KGrHgoH-EMEjlLluimHBKd%2Bs%2Ck7kQ%7E%7E_3.JPG



%21B%28w8W5%21BGk%7E%24%28KGrHgoH-CcEjlLlyiyvBKd%2Bu9cu5%21%7E%7E_3.JPG


%21B%28w7%2Bt%21%212k%7E%24%28KGrHgoH-CwEjlLluz7qBKd%2Br44QLQ%7E%7E_3.JPG


%21B%28w7RhwBWk%7E%24%28KGrHgoH-CcEjlLl4lRpBKd%2BlkLD7Q%7E%7E_3.JPG


%21B%28w7Osg%21Wk%7E%24%28KGrHgoH-CEEjlLl0us%2CBKd%2BlIfDBQ%7E%7E_3.JPG


%21B%28w8Njg%212k%7E%24%28KGrHgoH-EYEjlLly8E%29BKd%2BtuK8lQ%7E%7E_3.JPG


BERIOS SQUALE MASTER BITONE BEZEL

%21BkmUQO%21B2k%7E%24%28KGrHqYH-CIEtH5Yfp-mBLYNmoWmRw%7E%7E_12.JPG


%21BkmUStQBmk%7E%24%28KGrHqQH-DYEs-Rl9So5BLYNmzVW%21Q%7E%7E_12.JPG


%21BkmUVM%21B2k%7E%24%28KGrHqYH-EYEs%2B4iSgPhBLYNm-l-BQ%7E%7E_12.JPG


%21BkmUZfg%212k%7E%24%28KGrHqQH-DYEs-Rl9So5BLYNnTZZtQ%7E%7E_12.JPG


BERIOS SQUALE 600M

squale-berios-2.jpg


187509453_o.jpg


squale-berios-3.jpg


187509521_o.jpg

187509542_o.jpg


Ajd jos neku slicicu, zasluzuje a i valja se.


187509472_o.jpg


187509496_o.jpg



187509560_o.jpg


BERIOS SQUALE SAPHIR ATA100

11000_013-960x769.jpg

11000_0312-450x354.jpg


11000_0322-450x353.jpg



11000_030-600x479.jpg


P5170001.jpg


P5170046.jpg


P5170037.jpg


P5170002.jpg


P5170020.jpg


P5170042.jpg


BERIOS SQUALE 1535 PROFUNDOUS

Jos jedan "uljani", kao i onaj predhodni OCEAN DIVER

m754kz.jpg


15psumg.jpg

2lvnvb5.jpg


ANTARES CASE SQUALE ATA 100

2e2c_1.jpg


SQUALE ARLON MEDIUM

vhh161.jpg


vhh20.jpg


vhh17.jpg


vhh18.jpg


vhh19.jpg


I za ovo izdanje jos jedan "Rumeni" Squale Saphir 2001

Sa "Olongapo"-stile narukvicom.

863518525_UuDPN-XL.jpg


863518136_orvu6-XL.jpg



Kazu da je najbolji i jedini lek za Squalemaniaaaa...ke, imati sve te modele satova u svojoj kolekciji. ;)

Za zute minute...

310119d1280927617-new-squale-101-atmos-ref-2002a-helium-valve-101yellow-jpg

310121d1280927617-new-squale-101-atmos-ref-2002a-helium-valve-101yellowc-jpg

310122d1280927617-new-squale-101-atmos-ref-2002a-helium-valve-101yellowd-jpg


I crne rupe...
310124d1280927643-new-squale-101-atmos-ref-2002a-helium-valve-101black-jpg


310125d1280927643-new-squale-101-atmos-ref-2002a-helium-valve-101blackb-jpg


Squale_Main_small.jpg



Ajd... Do skorog druzenja, koliko vec sutra. ;)


Pozz

 
Last edited:
RONIOCI KOJI DUBINU ZNACE

Schofield%2BSIGNALMAN.jpg


SQUALE+2002+Ocean+TESTED+01.jpg


squale_crackers_27_2013.jpg




DSC00071.jpg


Squale ima sjajnu proslost i svetlu buducnost ispred sebe. Interesovanje za te satove poslednjih godina zasluzeno raste, do nas je da na svoj nacin podrzimo te nezavisne kreatore “vremena” koje dolazi.

squale-oceans-diver-blandford-09.jpg

Kao sto sam ja nosio starke jos 1975. godine, a vi to radite danas. ;)

949250d1359197026-squale-workshop-visit-img_5923.jpg


Squale je uvek u potrazi za poboljsanjem izgleda i karakteristika svojih satova...


squaleespositore.jpg


Sve one male vazne stvari, koje nas cine srecnijim i zadovoljnijim vlasnicima istih.


399723_105321076257707_158349717_n.jpg


squale-professional-diving-watches10.jpg


Hrabro pisana istorija, rukom i ljubavlju svojih osnivaca, familije Von Büren.

2drv0vs.jpg


Koja je usput sasvim lepo posluzila i nekim drugim ponositim, a da li su time stvarno bili ponosni ?!

2yn04zl.jpg


Squale Watches CEO, Andrea Maggi nastavlja tradiciju sa puno zara, velikom voljom da ugodi svima koji zele da u svom posedu imaju deo ronilacke istorije.

DSC_0121.JPG


Mr.Andrea Maggi stoji u sredini.

DSC_0126.JPG


Samo neki od satova iz licne kolekcije Mr. Andrea Maggi-ja

DSC_0128.JPG


NOS Squale Tiger 500

DSC_0131.JPG


Sa slicnim mehanizmom zakljucavanja kao i kod
Omege Ploprof.

DSC_0130.JPG


Patern-sara na zadnjoj strani, kod ronjenja drzi sat bolje fiksiran na neoprenu.

DSC_0140.JPG


Da se pokusa zadovoljiti i ukus nasih dama.

DSC_0142.JPG


Crni dijamanti prave lep kontrast na ovom satu...

images


Mada bi se ovde jedan kais od Stingray-Raze bolje slozio.

img_1235.jpg


Ma sta jedan, bar dva ili vise...

Squale600s.JPG


Oduvek Swiss made kako vec to tradicija pravljenja satova nalaze, kombinovano sa cvrstinom i izdrzljivoscu. Kao i sama otpornost i tacnost, koji su bili primarni za Squale satove od samog pocetka.

Plava faza ...

dsc03564ri.jpg


5lxs2s.jpg


011_squale_prof_blue_view_WEB.jpg


10981_077a-645x510.jpg


images



squale4.jpg


I po obicaju nesto za Dalibora...

13-category_default.jpg


squale_101.jpeg


images


imag0538y.jpg


Koja jos uvek traje...


1374338209.jpg


1254422329.jpg


101.jpg


squale_duo.jpg


Svajcarski 316L celik za kucista, kada treba “crnilo”-PVD se radi po "Beretta" tehnologiji, te svetski poznate fabrike lakog naoruzanja.

squale1red.jpg


Mada ovo nije puno potpisan Squale...

smm5.jpg


Jedino da se tesimo da je ovo patina koja ima svoju draz.

Squale-50-Atmos-1521-Watch-with-Orange-Dial.jpg

squale-pvd-a.jpg

DSC_0009.jpg


949242d1359196637-squale-workshop-visit-img_5145.jpg

Squale je oduvek bio direktan kupac ETA mehanizama iz Grenchen-a, garantujuci najbolji moguci kvalitet, a tako je i danas.


949245d1359196719-squale-workshop-visit-img_5167.jpg


Svi Squale satovi su mukotrpno sklapani majtorstvom casovnicarskog umeca, zatim je svaki sat po strogim standardima testiran.

949247d1359196760-squale-workshop-visit-img_5158.jpg


SQUALE%2B101%2BATM%2B02.jpg


Squale uvek garantuju svojim vlasnicima dugi vek - godine nosenja , redovne upotrebe i preciznost.


squale_divers_2002A_Blue_Watch.jpg


Jel'dosta bilo Squale, plavaca, zutaca...

I jos ako neko pogodi...

megalodon-2.jpg

megalodon+zubi+1.jpg


*Ko je imo o'vaki?


*Odgovor:

To je zubich sekutic davnog predaka ajkule, poznatijeg kao „Megalodon“.
Kazu da je to najcesci dokaz postojanja istih. Jer je pozanto da Ajkula (moram velikim iz postovanja, brrrrr..) menja zube posle svakog malo tvrdjeg obroka, u vidu desantnih camaca, neispaljenih torpeda, bova, lengera...Fosili ajkule su izuzetno retki jer nemaju kosti nego samo hrskavicu, koja se ne okameni (fosilizuje) dobro. Tako da su te komadine zuba uvek dokaz njihovog postojanja.

Taj predak, brat od muske tetke ove sadasnje, bio je neke srazmerne duzine tela od 18-20 metErI, prema tezini od odokativnih 45 tona. Mada se sumnja da je duzina mogla da bude i do neverovatnih 30m.

F4YyUwM.jpg


Sa skromnin rasponom celjusti od 2metra, skoro kao ulaz u neku pecinu strogu, i to bez dna, gde niko ziv ne zivi. ;)

Zasnivajuci svoj metabolizam na ovim savremenim belim...Pa ako znamo, da ova prosecna bela od 5-6 metara duzine ima apetit od nekih 10-15 kg mesa i mesnih preradjevina, peraja, gumenih cizama i camaca, vesla, konzervi mesnog dorucka, krpa i ostalih proizvoda narodne radinosti... i to dnevno.

megalodon-1-618x412.jpg


Malo poredjenje prema zubichima velike bele.
Koliko je onda ovo cudo moglo da pojede od dorucka do rucka? ;)

Kazu da je u proseku morao da pojede oko-lo 80-100 kg dnevno, i to samo da odrzi goli zivot, a sta kada je mogao da sebi da oduska... Hranio uglavnom manjim kitovima, onim sitnisem od oko 10-15 tona tezine, mada se sumnja i da je nekada znao da smaze i neko manje ostrvo sve zajedno sa palmom i kokosima, narocito ako je ostrvo bilo koralnog porekla. Mljac...
robinzon_kruso_by_Jovan_Ukropina.jpg

Doduse Robinzon Kruso je ziveo na malo vecem ostrvu zajedno sa svojim izabranikom-zivotnim partnerom. ;) Odmah dole levo, prasnjavim puteljkom kod ostrva Praslin u Indijskom okeanu, jos dok su Sejseli bili deo kontinenta- te velike zemlje Indije.

mega5-1-4.jpg


Jedina stvar koja je Megalodona drzala podalje od kopna bila je njegova velicina, jer bi se samo bespomocno nasukao kao neka spanksa galija iz 16. veka. DakleM, Megalodon je bio ogroman, nemilosrdan, a na vrhu ishrane u Pliocen i Miocen epohi. Sta je poslo po zlu? Postoje raznorazne teorije: Megalodon je mogao biti osudjen globalnim hladjenjem (koje je kulminirao poslednjeg ledenog doba), ili postepenim nestankom velikih kitova koji su predstavljali vecinu njihove ne tako raznovrsne ishrane. Mozda je zatvaranje lanca Centroprom prodavnica i robnih kuca Beograd uzrok? ;)
Neki ljudi misle da Megalodon još uvek vreba u okeanu, na velikoj dubini ...

nemo1.jpg


Gde neke ruznjikave ribe “nose“ cak i fenjere…

Ali stvarnih dokaza, da je preostao neki daljni rodjak ajkule nema, jos…


Sem prica u kojima su oci Veeeelike…
Megalodon-and-other-big-sharks-Scarlet23-wikipedia-600-px-tiny-Aug-2013.jpg


Neki naucnici cak tvrde, da su te nemani zivele sve do pre nekih 15 000 godina.

Dean-1909-Carcharodon-megalodon-jaw-reconstruction-350-px-tiny-Aug-2013.jpg


dsc01491350.jpg


Sreca da smo ih izbegli, mada i ove danas...

squale_main.jpg

Ajd... Pa do skorog druzenja, od dorucka do rucka. ;)

jaws-moonraker.jpg


Probaj ovo dole , ako smes.;)
026Y_pvd.5.png


Pozz
 
Last edited:
Back
Top